KRT e-gradiva
PNEVMATIKA
ZRAK
PREDNOSTI in SLABOSTI
PRIDOBIVANJE STISNJENEGA ZRAKA
PNEVMATIČNI DELOVNI VALJI
PNEVMATIČNI KRMILNI ELEMENTI
POTNI VENTILI
KONSTRUKCIJSKE IZVEDBE POTNIH VENTILOV
SIMBOLIČNI PRIKAZ VENTILOV
OZNAČEVANJE PRIKLJUČKOV VENTILOV
NAČIN AKTIVIRANJA VENTILOV
OSTALI VENTILI
PREKLOP VENTILA
UVOD V PROJEKTIRANJE PNEVMATIČNIH VEZIJ
OSNOVNI PROJEKT PNEVMATSKEGA VEZJA
OSNOVNA PNEVMATSKA VEZJA
PREVERJANJE -prvi del
PREVERJANJE -drugi del
PREVERJANJE -tretji del
PREVERJANJE -četrti del
ELEKTROPNEVMATIKA
VIDEO-Pnevmatika
VIDEO-Elektro pnevmatika
VIDEO-Industrija
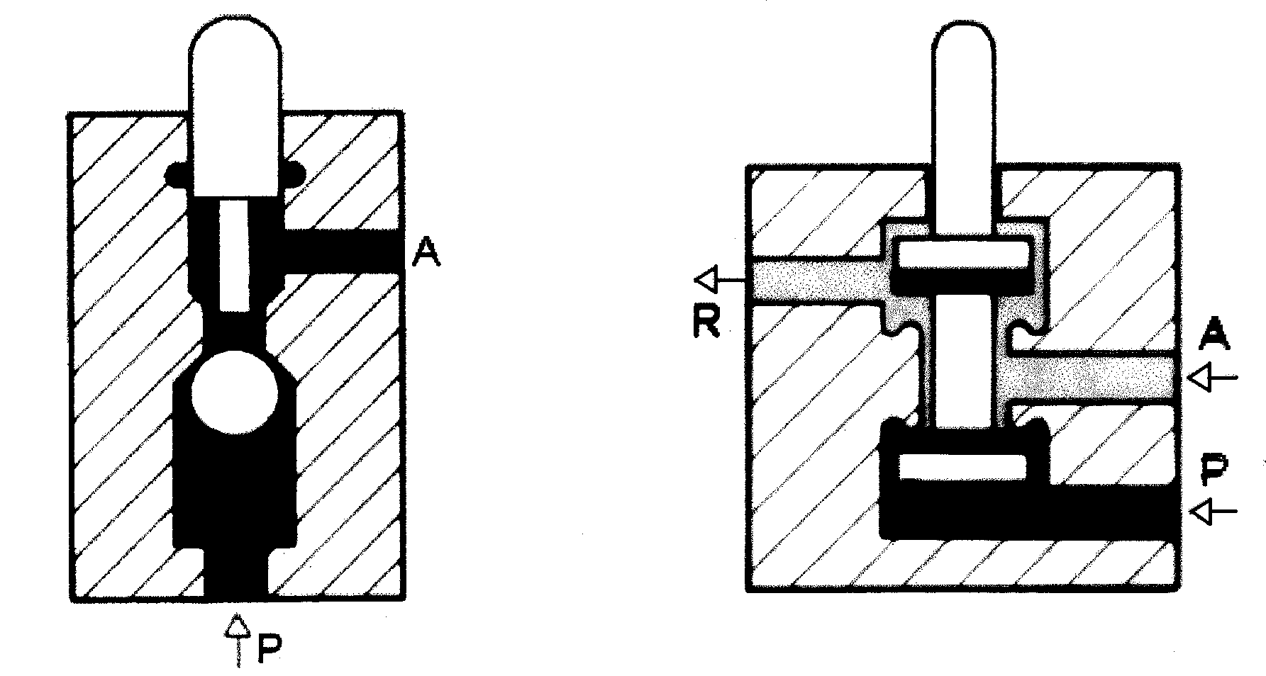
KONSTRUKCIJSKE IZVEDBE POTNIH VENTILOV
1. Sedežni
2. Vretenski
3. Drsniški
« Predhodni
|
Naprej »